广东省2025年4月高等教育自学考试计划于4月12日至13日举行,报名报考工作于2月25日-3月7日进行。
具体有关事项安排如下:

具体有关事项安排如下:

01报名报考时间
报名时间:2月25日-3月7日
新生预报名时间:
2025年2月25日10:00至2月28日12:00
正式报名时间:
2025年2月25日10:00至2月28日17:00
新老生报考时间:
2025年3月3日14:00至3月6日17:00
考生预报名时间:
2025年3月4日10:00至3月7日17:00


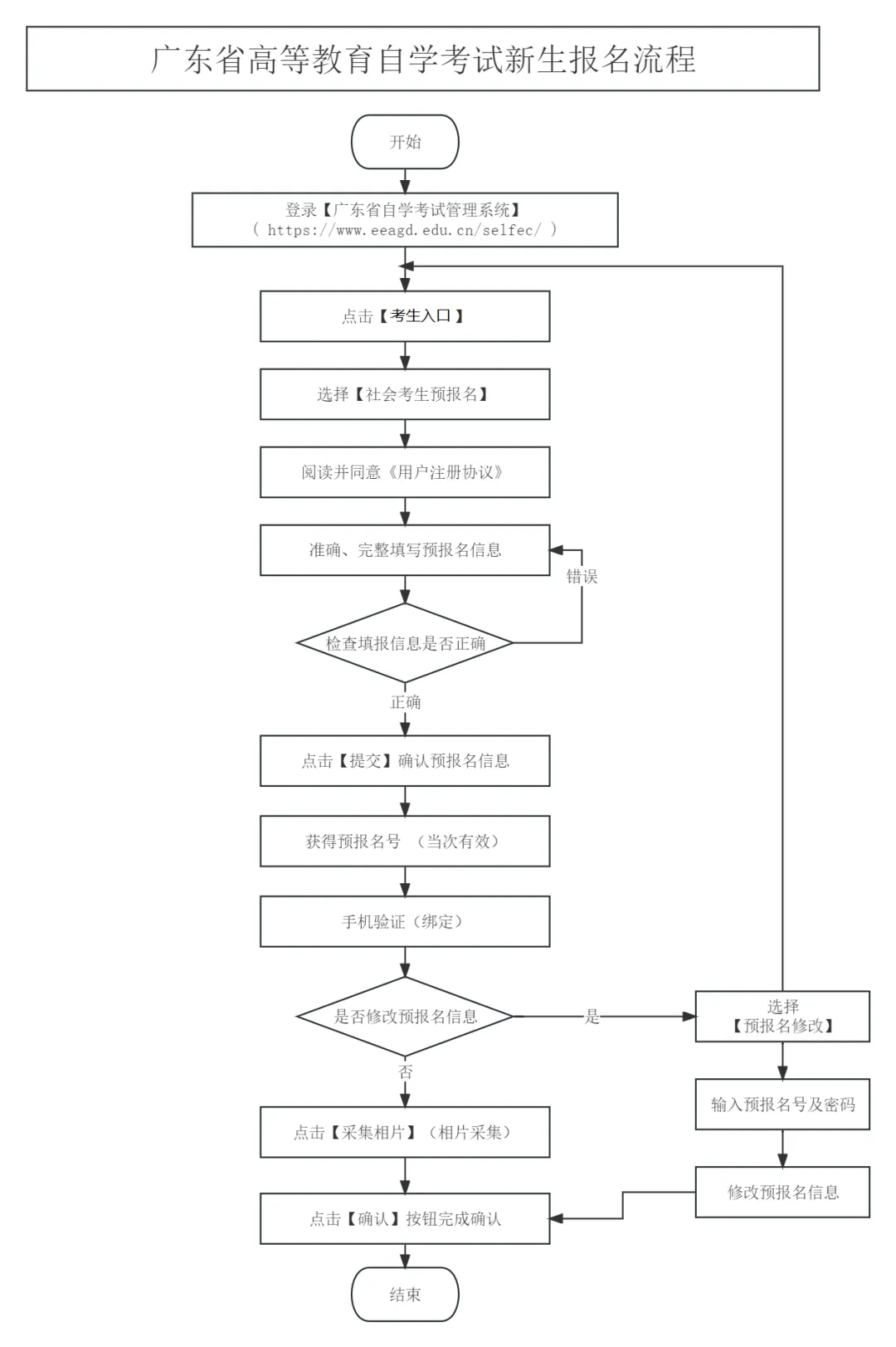
02新生报名
凡在我省居住和工作的中华人民共和国公民,不受性别、年龄、民族、种族和已受教育程度的限制,均可参加我省自学考试。港澳和台湾同胞、海外侨胞及外籍人士,也可按规定参加我省自学考试。


02考生报考
考生报考时如未绑定联系手机,则须先完成本人手机绑定方可报考,需要修改已绑定手机的也可通过报考菜单栏的【手机绑定】功能进行解绑和重新绑定。无法自行解绑手机的,可到考区所在地市自学考试办公室或其指定单位解绑。


03考前打印准考证
考生须在考试前10天内登录广东省自学考试管理系统打印准考证。
准考证上将载明考生参加当次各科考试的座位信息。
准考证用普通A4纸打印,严禁伪造、变造或擅自涂改,严禁在准考证正反面书写、打印除下载统一内容以外的文字或标记,严禁在考场当草稿纸使用。请考生在上述时段内及时打印准考证,打印准考证过程中如遇问题,请向考区所在地市自学考试办公室咨询。
04参加考试注意事项
所有考生均须凭网上自行打印的当次考试的准考证、本人有效身份证原件(含临时身份证、公安机关出具的用于参加国家教育考试的带照片的身份证明,不含电子身份证;军人、港澳和台湾同胞、海外侨胞及外籍人士可持考籍登记的对应证件原件)参加考试。请考生认真阅读《广东省高等教育自学考试考场规则》,遵守考场规则,诚信应考。
05成绩公布与复核申请
(一)成绩公布
本次考试成绩预计在2025年5月下旬公布,具体时间以公布为准,届时考生可通过广东省自学考试管理系统查询合格成绩,通过省教育考试院官方微信小程序查询全部考试成绩,具体安排请留意省教育考试院官方网站相关信息。
(二)成绩复查申请
1.申请复查程序。
考生如对本人某科成绩有异议的,须持本人身份证、准考证,向参加考试所在市自学考试办公室提出成绩复查申请。各地市自学考试办公室在当次考试成绩公布后10个工作日以内安排具体受理时间和地点,请考生密切关注考区所在地市自学考试办公室公布的具体受理时间和地点,过后不再受理成绩复查申请。成绩复查仅限于复查答题有无漏评、漏记分、错记分、加错分,评分标准、评分细则以及对答题评分宽严有异议等问题不在复查范围之内。
2.复查结果告知。
省自学考试委员会办公室按照相关规定组织专人进行试卷复查后,复核结果将通过广东省自学考试管理系统通知考生,对复查后发现分数有误的还将另行通知考生(按当次报考时考生确认的联系方式);考生也可向受理申请的地市自学考试办公室咨询复查结果。
06违规处理
广东省自学考试委员会办公室将严格按照《国家教育考试违规处理办法》及相关规定严肃处理违纪作弊考生,并如实将相关信息记入诚信档案,涉嫌组织作弊、替考等违法犯罪行为的,移交有关部门依法处理,广大考生务必诚信应考。
考试违规处理事先告知书和决定书将采用电子送达方式,并按照当次报考时考生确认的联系手机号码发送信息提醒,相关考生需及时登录广东省自学考试管理系统(https://www.eeagd.edu.cn/selfec)进行查收,相关文书上传至广东省自学考试管理系统后,考生即可同步查阅(广东省自学考试管理系统显示上传成功的日期为相关文书的送达日期)。
07其他
(一)根据《广东省发展改革委 广东省财政厅关于规范全省教育部门教育考试行政事业性收费及有关问题的通知》(粤发改价格〔2022〕442号),我省自学考试笔试课程收费标准为每科52元。
(二)残疾考生参加自学考试需考试机构在考试期间提供合理便利的,应在报考课程前持本人第二代及以上《中华人民共和国残疾人证》向考区所在地市考办提出正式书面申请,报考结束后不予受理。
(三)报名报考过程中遇到的问题直接向考区所在地市自学考试办公室咨询。其他未尽事宜,请考生密切关注广东省教育考试院官网、官微及各地自学考试办公室发布的相关讯息。
免责声明:本站除特别注明原创文章外,其他文章均为转载或网络整合,未注明图片、字体及文章封面图均来源网络,版权归原作者或平台所有。如有侵权,请联系后台删除。
                        推荐阅读:
https://mp.weixin.qq.com/s/xrYkV4AG51uoBvwoNZTDXA
https://mp.weixin.qq.com/s/FaK58O6N7KyfcRHSJodrhg

 
                    